Співзасновник Google розробляє автівку, що літає

Українська правда

Наразі дві незалежні компанії працюють над створенням інноваційного авто

Співзасновник Google Ларрі Пейдж придбав дві компанії, що займаються розробкою літаючих автомобілів. Про це повідомляє "Економічна правда" з посиланням на The Wall Street Journal.

За інформацією видання, в компанії Zee.Aero, працює близько 150 чоловік, і вона вже тестує прототип літаючої автівки в сільській місцевості в Каліфорнії. Ще одна компанія, Kitty Hawk поки займається розробкою дизайну літаючого автомобіля.

Зазначається, що обидва стартапи розташовані неподалік від штаб-квартири Alphabet (що є холдинговою компанією Google), але не пов'язані з нею.

Повідомляється, що Пейдж інвестував в Zee.Aero більше 100 млн дол. Наразі компанія будує електромобіль з вертикальним зльотом та посадкою.

За даними джерел, у його розробці нібито беруть участь аерокосмічні дизайнери та інженери з NASA, Boeing і Space X.

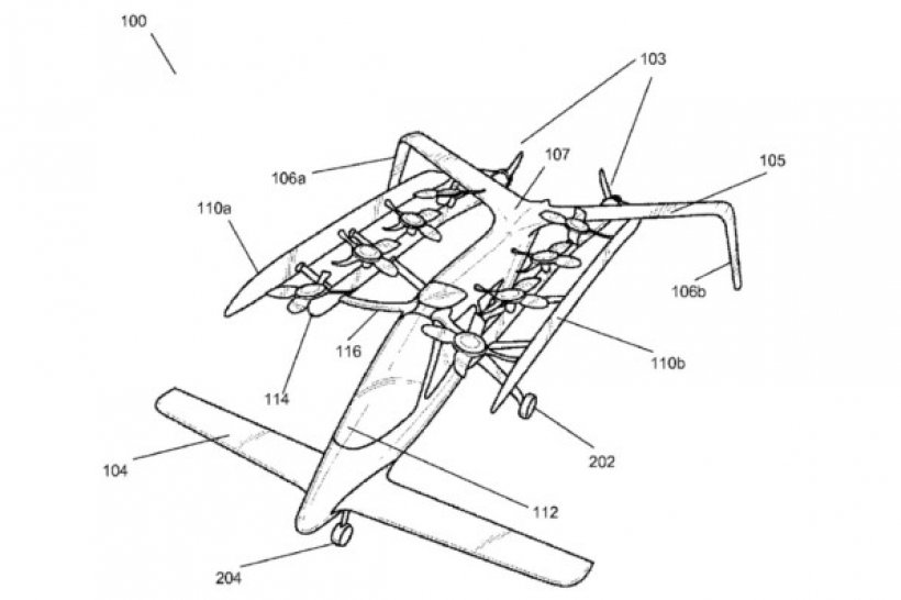
Як стало відомо, зареєстровані в 2013 році патенти компанії Zee.Aero містять зображення машин, які складаються з фюзеляжу, крил спереду і ззаду, восьми роторів і пропелерів.

Стартап Kitty Hawk працює над створенням автомобіля, що нагадує гігантський квадроптер. Обидві команди працюють в режимі суворої секретності і ізольовані одна від одної.

Як повідомляв 5.ua, 3 червня в Монако на марафоні електромобілів вперше представили розробку українців. Крім того, американський виробник електромобілів Tesla Motor Co. представив дві економічні версії Model S60 і 60D.

ПРОКОМЕНТУЙТЕ