Мужчина, указывающий пальцем на висок

Трехногие колготки и ванна-качалка: самые странные идеи, которые стали патентами

Shutterstock

Патентная система, которая по замыслу должна была стать щитом для инноваций, с годами превратилась в гигантскую библиотеку человеческих причуд. В реестрах США, Европы и Азии хранятся тысячи документов, которые заставляют задуматься: это технологический прорыв или просто удачная шутка?

В реестрах США, Европы и Азии хранятся тысячи документов, которые заставляют задуматься: это технологический прорыв или просто удачная шутка? Юристы по интеллектуальной собственности напоминают, что патент – это не сертификат полезности, а лишь доказательство того, что идея является новой. Именно поэтому в архивах рядом с двигателями внутреннего сгорания спокойно сосуществуют очки для кур и трёхногие колготки. Об этом сообщает "Дивогляд" со ссылкой на "Фокус".

Экзотика и бытовой комфорт: от змей до мороженого

Некоторые изобретения пытаются решить проблемы, о существовании которых большинство людей даже не догадывается.

  • Поводок для змеи (US6490999): Американское изобретение, предлагающее систему фиксации для прогулок с рептилией. Юридически патент защищает не саму идею выгула, а механизм, который позволяет контролировать движение змеи, не причиняя ей вреда.

Патент
Патент
Фото: Из открытых источников
  • Автоматическое вращение мороженого (US5971829): Изобретение для тех, кто считает вращение рожка во время еды "чрезмерным физическим усилием". Устройство само крутит десерт, демонстрируя пик потребительской лени.

Патент
Патент
Фото: Из открытых источников
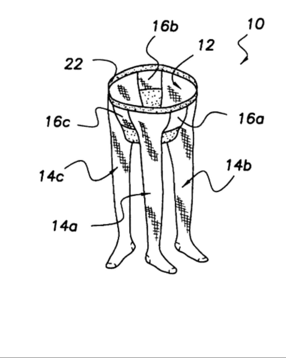
  • Колготки с "запасной" ногой (US5713081): В 2001 году медиа, в частности ABC News, активно обсуждали этот патент. Изделие имеет три ножные части: одна из них спрятана в специальном кармане. Если на основной части появляется дырка, владелица может просто переодеть ногу в целую "запаску", не снимая колготок полностью.

Патент
Патент
Фото: Из открытых источников

Практическая странность: очки для кур и цирковые велосипеды

Не всё, что выглядит смешно, является бессмысленным. Иногда за странным фасадом кроется суровая прагматика.

Очки для домашней птицы Это изобретение появилось ещё в начале 20 века. Несмотря на комичный вид, устройство имело серьёзную цель – снижение агрессии в курятниках. Ограничивая обзор птицам, фермеры заставляли их меньше драться и травмировать друг друга. Всемирная организация интеллектуальной собственности (WIPO) приводит этот пример как образец практического подхода к специфическим сельскохозяйственным проблемам.

Велосипед для езды вверх ногами (US790063A) В 1905 году берлинский изобретатель Карл Ланге запатентовал двусторонний велосипед. Кроме стандартных колёс, он имел пару сверху – над головой водителя. Конструкция была создана специально для цирковых артистов, которые выполняли "мёртвую петлю", позволяя им сохранять сцепление с поверхностью в самой высокой точке трюка.

Ретро-футуризм: шляпы и ванны

Архивы 19 века скрывают настоящие жемчужины этикета и развлечений:

  1. Устройство для салютования шляпой (1896): Механизм автоматически поднимал головной убор во время приветствия, освобождая руки джентльмена.

  2. Пробковый купальник (1882): Попытка сделать плавание максимально безопасным с помощью натуральных материалов.

  3. Ванна-качалка (1900): Гибрид мебели и сантехники для тех, кто хотел превратить гигиенические процедуры в аттракцион.

Корпоративная фантастика: патенты как страховка

Сегодня такие гиганты, как Google, IBM и Microsoft, патентуют идеи, граничащие с научной фантастикой. В их портфелях можно найти:

  • Датчики стресса в часах, автоматически вызывающие помощь.

  • Системы интерпретации мыслей на основе медицинского сканирования мозга.

  • Технологии преобразования тепла человеческого тела в энергию для зарядки гаджетов.

Для крупных корпораций это не просто изобретения, а "страховка будущего". Даже если технология кажется невозможной сегодня, владение патентом даёт юридический приоритет в мире, где фантастика становится реальностью быстрее, чем мы ожидали.

Ранее "Дивогляд" рассказывал, что пара занялась сексом в аппарате МРТ ради науки.

Причудливые истории из Украины, котики, скандалы мировых звезд, юмор и чуть-чуть дикого трэша из московских болот – читайте первыми в Telegram Дивогляд 5.UA.

Прокомментируйте

МАТЕРІАЛИ ЗА ТЕМОЮ